반응형
스트롱앙카(Strong Anchor) 시공 방법

반응형
- 적합한 스트롱 앙카의 전장만큼 구멍을 냅니다.
- 앙카를 구멍에 넣습니다.
- 앙카펀치, 등을 사용하여 해머로 두드려 넣습니다
- 볼트를 연결하고, 조여줍니다.
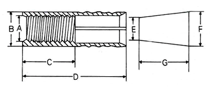
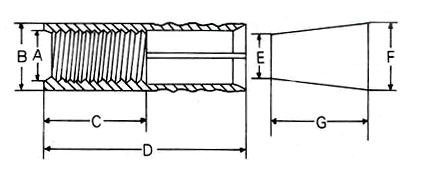
스트롱앙카(Strong Anchor) 규격표

위 도면과 참고하여 확인하시기 바랍니다
| 볼트 규격 | 지름 | 스크류 길이 |
총 길이 | E | F | G | 인장강도 (kgf) |
적용 드릴 |
| M6(1/4) | 10.5 | 15 | 30 | 5.0 | 7.0 | 14.0 | 90 | 11.0 |
| M8(5/16) | 12.0 | 17 | 35 | 5.5 | 8.0 | 16.0 | 1,848 | 12.5 |
| M10(3/8) | 14.3 | 18 | 40 | 7.5 | 10.0 | 19.0 | 2,220 | 14.5 |
| M12(1/2) | 17.5 | 22 | 50 | 9.5 | 14.0 | 23.5 | 3,785 | 18.0 |
| M16(5/8) | 21.5 | 27 | 60 | 12.5 | 16.5 | 30.0 | 5,180 | 22.0 |
| M20(3/4) | 25.5 | 35 | 80 | 16.0 | 20.0 | 32.0 | 5,500 | 26.5 |
| M22(7/8) | 28.5 | 40 | 90 | 19.0 | 25.5 | 40.0 | 6,200 | 29.5 |
| M24(1") | 31.8 | 50 | 110 | 20.0 | 30.0 | 45.0 | 8,000 | 33.0 |

이상으로 스트롱앙카볼트 규격표 및 시공방법에 대해 포스팅을 마치겠습니다
감사합니다.
반응형
'기계설계 KS 규격' 카테고리의 다른 글
| (스테인리스강) SUS316 304 차이(비교) (0) | 2023.11.16 |
|---|---|
| 드롭인 앙카 규격 및 시공 방법 (0) | 2023.11.15 |
| 니플,니쁠(NIPPLE) 규격 및 설명 (0) | 2023.11.13 |
| 엘앙카(L형앙카)규격 및 설명(장점) (2) | 2023.11.08 |
| 웨지앙카(Wedge Anchor) 규격 및 설명 (0) | 2023.11.07 |